System Components
The modular GFA system is made up of the following main components:

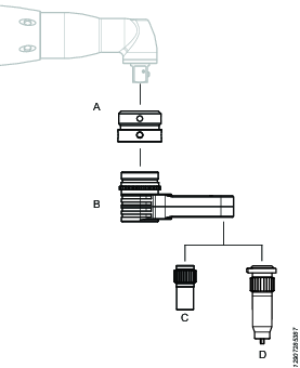
Position | Component | Function |
|---|---|---|
A | Adapter | With an adapter the GFA system can be fitted to different interfaces. The interface varies depending on the drive unit model. The adapter can be of either fixed index or quick index type. With a fixed index adapter the angle of the GFA system is specified from the factory. With a quick index adapter generation the operator can easily change the angle depending on the application. The adapters come in generation 1 and generation 2. |
B | Gear Front Attachment (GFA) head | The GFA head comes in various sizes for different torques and with different gear stages. |
C | Standard Socket | With different sockets the GFA system can be used for various screw profiles. |
D | Hold and Drive | With a hold and drive socket the screw is kept fixed while the nut is being tightened. |