Torcflex Slim Link Tool
Hydraulic Torque Wrench
Информация об изделии
Общие сведения
Сигнальные слова, предупреждающие об опасности
Сигнальные слова Danger (Опасно), Warning (Предупреждение), Caution (Предостережение) и Notice (Уведомление) имеют следующие значения.
ОПАСНО | Указывает на опасную ситуацию, которая, если ее не предотвратить, приведет к гибели или серьезной травме. |
ПРЕДУПРЕЖДЕНИЕ | Указывает на опасную ситуацию, которая, если ее не предотвратить, может привести к гибели или серьезной травме. |
ПРЕДОСТЕРЕЖЕНИЕ | Вместе с символом предупреждения об опасности указывает на опасную ситуацию, которая, если ее не предотвратить, может привести к травме легкой или средней степени. |
УВЕДОМЛЕНИЕ | Используется для указания методов работы, не приводящих к травме. |
Гарантия
Срок действия гарантии на изделие истекает через 12+1 месяцев после отгрузки из дистрибьюторского центра компании Atlas Copco.
Гарантия не распространяется на нормальный износ деталей.
Нормальным называется износ, требующий замены детали или другой регулировки/переборки во время обычного технического обслуживания инструментов для данного периода (выраженного в единицах времени, часах работы или иным образом).
Гарантия на изделие действует при условии, что эксплуатация, техническое обслуживание и ремонт инструмента и его компонентов осуществляются правильно.
На повреждение деталей в результате технического обслуживания, выполненного ненадлежащим образом или силами иных лиц, кроме представителей компании Atlas Copco или ее сертифицированных партнеров по обслуживанию, в течение гарантийного срока, действие гарантии не распространяется.
Во избежание повреждения или разрушения деталей инструмента, ремонтное обслуживание инструмента должно проводиться в соответствии с рекомендованными графиками технического обслуживания с соблюдением правильных инструкций.
Гарантийный ремонт осуществляется только в сервисных мастерских Atlas Copco или силами сертифицированных партнеров по обслуживанию.
Atlas Copco предлагает расширенную гарантию и самое современное профилактическое техобслуживание в рамках договоров ToolCover. Для получения дополнительной информации обратитесь к местному представителю по обслуживанию.
Веб-сайт
На веб-сайте Atlas Copco представлена информация о наших изделиях, принадлежностях, запасных частях, а также печатные материалы.
Посетите: www.atlascopco.com.
Программа ServAid
ServAid – постоянно обновляемый портал, на котором содержится следующая техническая информация.
Информация о нормативных требованиях и технике безопасности.
Технические данные
Инструкции по установке, эксплуатации и техобслуживанию.
Перечень запасных частей.
Принадлежности.
Габаритные чертежи
Посетите: https://servaid.atlascopco.com.
Для получения дополнительной информации обратитесь к местному представителю Atlas Copco.
Паспорта безопасности (MSDS / SDS)
В паспортах безопасности описаны химические продукты, продаваемые компанией Atlas Copco.
Посетите веб-сайт Atlas Copco, чтобы ознакомиться с более подробной информацией www.atlascopco.com/sds.
Предупреждения о безопасности
Запрещается модифицировать или подвергать любое оборудование или принадлежности ударам – обратитесь в компанию Atlas Copco в случае необходимости модифицировать оборудование, или если необходимы инструменты для особого применения. Несанкционированные модификации могут привести к преждевременному отказу инструмента, что может стать причиной травмы.
Запрещается подвергать электрический насос воздействию взрывоопасной или влажной среды – в случае использования электрического насоса убедитесь, что удлинительный кабель, источник питания и заземление соответствуют электротехническим нормам и правилам. Следует знать об опасности поражения электрическим током, например, при образование искр и скачках напряжения.
Опасности, связанные с высоким гидравлическим давлением
Используйте правильные инструменты, шланги и фитинги. Убедитесь, что все шланговые соединения полностью подключены, затянуты и не имеют протечек/
Не допускайте протечек гидравлической жидкости. Устраните любые протечки.
Запрещается превышать максимальное рабочее давление насоса. Убедитесь, что шланги и фитинги рассчитаны на динамическое рабочее давление 10000 фунтов на кв. дюйм (700 бар). Максимальное рабочее давление указано на инструменте.
Руки и пальцы должны находиться на безопасном расстоянии от мест защемления – места защемления находятся вокруг области реактивной штанги и в узких пространствах.
Поддерживайте оборудование в исправном состоянии – осматривайте инструмент на наличие повреждений, трещин и износа и наносите смазку в соответствии с использованием оборудования. Выведите поврежденный инструмент из эксплуатации.
Рекомендуется, чтобы операцией управлял один человек – только обученный и квалифицированный персонал должен осуществлять контроль за эксплуатацией инструмента. Если невозможно избежать управления инструментом двумя лицами, необходимо провести оценку риска с полным учетом окружающей среды, области применения, координации (между операторами) и связи. Оператор, держащий динамометрический ключ, должен управлять операцией, например, человек, осуществляющий управление, необязательно должен держать в руках пульт управления, однако он дает команды включить насос/инструмент.
Правильно настройте реакцию инструмента – неправильная или нестабильная реакционная точка может привести к перемещению инструмента во время операции и повышению риска для оператора. Неудачный выбор реакционной точки также может привести к преждевременному выходу инструмента из строя.
Пользуйтесь надлежащими средствами индивидуальной защиты – средствами, подходящими для работы с высоконапорными гидравлическими системами или рядом с ними, например, защитными очками (EN166), перчатками, защитной обувью и т.д. Не надевайте широкие перчатки, а также перчатки с разрезанными или изношенными пальцами. Перчатки могут намотаться на вращающийся привод/головку с последующим разрывом или переломом пальцев.
Не допускайте слишком большого перегиба шлангов, шланги не должны быть блокированы или повреждены – повреждение шланга может произойти в результате теплового, механического или химического воздействия, что приводит к выбросу гидравлической жидкости под высоким давлением и может стать причиной повреждения оборудования и телесной травмы.
Выбор инструмента – выберите подходящий инструмент, основываясь на требованиях к крутящему моменту и ограничений пространства.
Страна происхождения
Информация о стране происхождения указана на этикетке изделия.
Габаритные чертежи
Габаритные чертежи находятся в архиве габаритных чертежей или на портале ServAid.
Посетите: https://webbox.atlascopco.com/webbox/dimdrw (Серые компрессоры) или https://servaid.atlascopco.com (Синие компрессоры).
Обзор
Обзор ключа Slim Link
Torcflex Slim Link (TLS) – это профессиональный гидравлический инструмент, предназначенный для приложения крутящего момента к промышленным крепежным деталям, обеспечивающий правильное затягивание или ослабление промышленного болтового соединения. В системе гидравлического динамометрического ключа TLS используется стандартная силовая головка TFX и специально разработанные Slim Links для работ с ограниченным доступом. В инструменте используется гидравлический цилиндр двойного действия для преобразования линейной силы в крутящий момент через храповой механизм. Крутящий момент регулируется путем изменения давления, прилагаемого к гидравлическому цилиндру.
Инструмент состоит из следующих основных компонентов:

1 | Поворотный коллектор | 2 | Slimlink |
3 | Шестигранный хвостовик | 4 | Стопорный штифт |
5 | Реактивная штанга | 6 | Силовая головка |
Поворотный коллектор | Поворотный коллектор с гидравлической муфтой для соединения с подходящим гидравлическим источником питания. |
Slimlink | Трещоточное звено для шестигранного хвостовика. Atlas Copco предоставляет несколько тонких соединений для каждой модели силовой головки, чтобы можно было менять размер шестигранника. |
Шестигранный хвостовик | Шестигранный привод является функциональной частью, которая применяет крутящий момент Slim Link. |
Стопорный штифт | Стопорный штифт для соединения силовой головки с трещоточным звеном. |
Реактивная штанга | Интегрированная реактивная штанга для поглощения реактивной силы, возникающей во время использования инструмента. |
Силовая головка | Силовая головка является гидравлическим элементом инструмента. |
Технические данные
Ratchet Link, TLS04-113/46MM | Ratchet Link, TLS04-050MM | |
|---|---|---|
Max working pressure [psi] | 6835 | 8366 |
Max working pressure [bar] | 471 | 577 |
Torque range max [Nm] | 3573 | 4373 |
Weight [kg] | 3.92 | 3.99 |
Weight [lb] | 8.64 | 8.80 |
L [mm] | 183 | 183 |
L [in] | 7.22 | 7.22 |
R [mm] | 36.5 | 40.3 |
R [in] | 1.44 | 1.58 |
W1 [mm] | 28.6 | 28.6 |
W1 [in] | 1.13 | 1.13 |
NS max [mm] | 46 | 50 |
NS max [in] | 1 13/16 | |
Ratchet link hex size max [in] | 1 13/16 | |
Ratchet link hex size max [mm] | 46 | 50 |
Torque range max [ft lb] | 2635 | 3225 |
Ratchet Link, TLS04-200 | Ratchet Link, TLS04-203/55MM | |
|---|---|---|
Max working pressure [psi] | 8366 | 8988 |
Max working pressure [bar] | 577 | 620 |
Torque range max [Nm] | 4373 | 4698 |
Weight [kg] | 3.97 | 3.98 |
Weight [lb] | 8.75 | 8.77 |
L [mm] | 183 | 183 |
L [in] | 7.22 | 7.22 |
R [mm] | 40.3 | 43 |
R [in] | 1.58 | 1.69 |
W1 [mm] | 28.6 | 28.6 |
W1 [in] | 1.13 | 1.13 |
NS max [mm] | 51 | 55 |
NS max [in] | 2 | 2 3/16 |
Ratchet link hex size max [in] | 2 | 2 3/16 |
Ratchet link hex size max [mm] | 51 | 55 |
Torque range max [ft lb] | 3225 | 3465 |
Ratchet Link, TLS04-206/60MM | Ratchet Link, TLS04-209/65MM | |
|---|---|---|
Max working pressure [psi] | 10000 | 10000 |
Max working pressure [bar] | 700 | 700 |
Torque range max [Nm] | 5227 | 5227 |
Weight [kg] | 3.99 | 3.97 |
Weight [lb] | 8.80 | 8.75 |
L [mm] | 183 | 183 |
L [in] | 7.22 | 7.22 |
R [mm] | 46 | 48.5 |
R [in] | 1.81 | 1.91 |
W1 [mm] | 28.6 | 28.6 |
W1 [in] | 1.13 | 1.13 |
NS max [mm] | 60 | 65 |
NS max [in] | 2 3/8 | 2 9/16 |
Ratchet link hex size max [in] | 2 3/8 | 2 9/16 |
Ratchet link hex size max [mm] | 60 | 65 |
Torque range max [ft lb] | 3855 | 3855 |
Ratchet Link, TLS04-212/70MM | Ratchet Link, TLS04-215/75MM | |
|---|---|---|
Max working pressure [psi] | 10000 | 10000 |
Max working pressure [bar] | 700 | 700 |
Torque range max [Nm] | 5227 | 5227 |
Weight [kg] | 3.95 | 3.93 |
Weight [lb] | 8.71 | 8.66 |
L [mm] | 183 | 183 |
L [in] | 7.22 | 7.22 |
R [mm] | 51.3 | 54.0 |
R [in] | 2.02 | 2.13 |
W1 [mm] | 28.6 | 28.6 |
W1 [in] | 1.13 | 1.13 |
NS max [mm] | 70 | 75 |
NS max [in] | 2 3/4 | 2 15/16 |
Ratchet link hex size max [in] | 2 3/4 | 2 15/16 |
Ratchet link hex size max [mm] | 70 | 75 |
Torque range max [ft lb] | 3855 | 3855 |
Технические характеристики изделия
Технические данные продуктов приведены в ServAid или на веб-сайте Atlas Copco.
Посетите: https://servaid.atlascopco.com (Серые компрессоры) или www.atlascopco.com (Синие компрессоры).
Максимальный крутящий момент / давление Slim Link

Из-за своей компактной конструкции некоторые Slim Links не должны использоваться при максимальном давлении силовой головки.
Там, где это применимо, максимальный крутящий момент / давление постоянно отмечены на лицевой стороне соединения.
Информация по сертификации ATEX
ATEX
Во взрывоопасных зонах разрешается использовать только инструменты и оборудование, должным образом сертифицированные и маркированные символом ATEX.

Перед использованием оператор должен прочитать и понять все инструкции по эксплуатации!
Эту (дополнительную) информацию и рекомендации следует использовать вместе со стандартными инструкциями по изделию и технике безопасности, поставляемыми со всеми гидравлическими динамометрическими ключами Torcflex.
Работа в зоне ATEX: При работе в потенциально взрывоопасных средах следует соблюдать повышенную осторожность. Особое внимание требуется в отношении затяжки и использования линейки инструментов Torcflex. Оператор должен провести оценку риска перед использованием любого гидравлического динамометрического ключа Torcflex в потенциально взрывоопасной среде (зоне ATEX).
Операторы несут ответственность за техническое обслуживание инструмента, чтобы обеспечить его безопасную работу в зонах ATEX. Несоблюдение рекомендаций по техническому обслуживанию увеличивает вероятность механического отказа и, следовательно, возможность возникновения механической искры.
Если на ключе видны признаки неисправности, извлеките его из зоны ATEX, прежде чем искать причину. НЕ пытайтесь ремонтировать ключ в зоне ATEX.
Если ключ упал, извлеките его из зоны ATEX, прежде чем искать повреждения. Перед повторным использованием проведите испытание давлением и функциональное испытание.
Проверка ключа Torcflex
Перед использованием ключа Torcflex в зоне ATEX проверьте его общее состояние. Особое внимание следует уделить компонентам привода, т. е. приводной пластине, храповику и приводной собачке. Любые детали, находящиеся в плохом состоянии или значительно изношенные, необходимо заменить. Во время повторной сборки убедитесь, что детали правильно смазаны в соответствии с инструкциями по техобслуживанию.
Системные и эксплуатационные аспекты
Используйте динамометрические ключи Torcflex в зонах ATEX только при соединении с другими заявленными или сертифицированными компонентами ATEX, например, шлангами и гидравлическим насосом.
Убедитесь в целостности электрической цепи, проходящей через динамометрический ключ. Для предотвращения накопления статического электричества заземлите/электрически заземлите систему/насос.
Следует проявлять особую осторожность при выборе точек реакции, а также при размещении и опоре гидравлического динамометрического ключа.
Убедитесь, что используемые принадлежности находятся в хорошем рабочем состоянии и подходят для использования в потенциально взрывоопасных средах.
Расшифровка кода ATEX
Код ATEX: | |
|---|---|
II 2 G Ex h IIC T4 Gb II 2 D Ex h IIIC T135°C Db -20 °C ≤ Ta ≤ 40 °C | |
Описание | Значение | Расшифровка |
|---|---|---|
Группа оборудования | II | Оборудование для работы на поверхности |
Категория оборудования Группа II | 2 | Высокая степень защиты
|
Атмосфера
| G | Атмосфера, содержащая газ, пары или туман |
D | Атмосфера, содержащая пыль | |
Проектирование с учетом безопасности | h | Механическое изделие |
Газовая группа | IIC | Водород / ацетилен |
IIB | Этилен | |
Пылевая группа | IIIC | Поверхностная горючая пыль |
Макс. температура поверхности в газовой атмосфере |
| T1 = 450 °C T2 = 300°C T3 = 200°C T4 = 135 °C T5 = 100°C T6 = 85°C |
Макс. температура поверхности в пылевой атмосфере |
| Примеры значений температуры: T85 °C T100 °C T135 °C T200 °C T240 °C |
Установка
Требования к установке
Общие требования безопасности при установке
Для работы с ключами Torcflex подсоедините ключ к гидравлическому силовому агрегату с помощью гидравлического шланга. Для максимальной эффективности и точности используйте насосы и шланги для динамометрических ключей производства Atlas Copco. Если насосы и шланги Atlas Copco не используются, перед подсоединением ключей Torcflex убедитесь в следующем.
Системные требования:
Все компоненты системы должны иметь номинальное динамическое давление 700 бар (10 000 фунтов на кв. дюйм).
Требования к насосу:
Максимальное давление подачи: 700 бар (10 000 фунтов на кв. дюйм).
Максимальное давление втягивания: 120 бар (1740 фунтов на кв. дюйм).
Направляющий распределитель с дистанционным управлением для управления цилиндром двойного действия; при переключении между подачей и втягиванием давление должно быть сброшено.
В целях безопасности пульт дистанционного управления должен быть настроен на автоматическое втягивание инструмента при отпускании кнопки.
Регулируемый клапан сброса давления.
Калиброванный манометр (класс точности 1).
Для систем с винтовым муфтами убедитесь, что муфта подачи является штыревой, а муфта втягивания — гнездовой. Дополнительную информацию см. в разделе Соединение винтовых муфт.
В ключах Torcflex, оснащенных винтовыми муфтами, используются муфты CEJN 232 с резьбой ¼ NPT. Прежде чем использовать в системе муфты других марок, проверьте их совместимость. Дополнительную информацию см. в разделе Соединение винтовых муфт.
Требования к гидравлическому шлангу:
Линия подачи: гнездовая муфта на обоих концах.
Линия втягивания: штыревая муфта на обоих концах.
Перед подключением системы выполните следующие действия.
При использовании электрических насосов убедитесь, что источник питания подходит для насоса, и выберите удлинители как можно короче.
При использовании пневматических насосов убедитесь, что источник питания подходит для насоса, и выберите пневмолинии как можно короче.
Прежде чем подключать кабели к источнику питания, проверьте кабель питания и пульта дистанционного управления на наличие повреждений.
Прежде чем подключать шланги к системе, проверьте гидравлические шланги и муфты на наличие повреждений.
Проверьте уровень масла и при необходимости долейте его.
Убедитесь, что манометр откалиброван.
Выберите ключ на основе целевого крутящего момента для конкретного случая применения.
Чтобы продлить срок службы ключа, не используйте инструмент с нагрузкой выше 80 % в течение длительного времени. Как и в случае с любой машиной, постоянная работа на максимальной мощности сокращает срок службы. Инструмент также будет чаще нуждаться в обслуживании и замене изношенных деталей.
Для случаев, когда задняя гайка может вращаться, убедитесь, что имеется подходящий запасной ключ.
Инструкция по установке
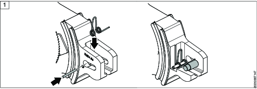
Установка трещоточного звена TLS
Перед установкой убедитесь, что конец шатуна и приводная пластина смазаны должным образом.

Вставка трещоточного звена
Вытащите штифт соединения из тонкого соединения и протолкните приводную пластину до упора вперед.
Присоедините силовую головку к тонкому соединению.
Поверните силовую головку для полного зацепления.
Установите штифт соединения для фиксации силовой головки
Силовая головка и тонкое соединение полностью собраны.


Установка опорной рукоятки
Убедитесь, что рукоятка имеет правильный размер болта, прежде чем устанавливать рукоятку на ключ. Доступны два размера винтов опорной рукоятки; выберите правильный размер болта из списка.
TLS02 = M6
TLS04 = M8
Ключ поддерживает установку опорной рукоятки в двух различных положениях.

Верхнее положение
Боковое положение силовой головки, слева или справа
Подготовка рукоятки к установке
Вставьте болт через рукоятку.
Затяните болт с помощью винта-барашка.
Убедитесь, что болт свободно двигается по оси, чтобы обеспечить установку.

Установка рукоятки на ключ
Вставьте шпонки в основании рукоятки через отверстия на ключе.
Удерживайте рукоятку и затяните болт на ключе с помощью винта-барашка до упора.

Регулировка положения рукоятки
Чтобы изменить положение рукоятки, не требуется ослаблять болт.
Опорную рукоятку можно поворачивать в двенадцать положений с шагом в 30 градусов:
Потяните и удерживайте установочный штифт.
Поворачивайте рукоятку до нужного положения, затем отпустите штифт и заблокируйте.

Сброс давления
Ключи Torcflex поставляются либо с коаксиальными муфтами, либо с винтовыми муфтами. Система коаксиальной муфты соединяет линию выдвижения и линию втягивания одним соединением. Система винтовой муфты требует, чтобы линии выдвижения и втягивания соединялись по отдельности. Перед подключением убедитесь, что муфты чистые и не имеют повреждений.
Прежде чем пытаться подключить или отключить гидромуфты, убедитесь, что в насосе нет остаточного давления.
Электрические насосы
Нажмите кнопку в верхней части электромагнитного клапана несколько раз, чтобы сбросить давление.

Пневматические насосы
Нажмите кнопку останова [0] на подвесном пульте дистанционного управления, чтобы остановить насос.
Нажмите и удерживайте кнопку останова [0] и несколько раз нажмите кнопку подачи [1], чтобы включить электромагнитный клапан.

1
Кнопка подачи
0
Кнопка останова
Все муфты должны легко соединяться и разъединяться вручную. Если нет, ищите повреждения или остаточное давление в системе.
Подключение системы — коаксиальная муфта
Соосная система подключает линии подачи и отвода гидравлического контура с помощью одной муфты.

Подсоединение шланга к насосу
Удерживайте раму насоса (1), чтобы насос не двигался во время соединения. Расположите ниппель шланга (2) на одной линии с муфтой насоса.
Плотно соедините ниппель шланга и муфту насоса (2). Когда соединение будет успешно выполнено, раздастся щелчок.

Рифленое кольцо на муфте насоса не требуется отводить назад при осуществлении соединения.
Потяните шланг (3), чтобы проверить соединение.

Подсоединение шланга к ключу
Поддерживайте поворотный коллектор с противоположной стороны в сторону муфты (1). Расположите муфту шланга вровень с ниппелем ключа (2).
Плотно соедините ниппель и муфту. Когда соединение будет успешно выполнено, раздастся щелчок.

Рифленое кольцо на муфте шланга не требуется отводить назад при осуществлении соединения.
Потяните шланг (3), чтобы проверить соединение.

Отсоединение шланга от насоса
Коаксиальная муфта имеет элемент безопасности для предотвращения случайного отсоединения во время эксплуатации. Узнайте, как отсоединить шланг перед использованием оборудования.
Удерживайте раму насоса, чтобы насос не двигался во время отсоединения.
Нажимайте на ниппель шланга по направлению к насосу (рис. 1) до тех пор, пока зазор между рифленым кольцом и ниппелем не закроется (рис. 2).
Удерживая указанное выше положение, протолкните рифленое кольцо к насосу (рис. 3).
Потяните шланг от насоса, и соединение автоматически разъединится (рис. 4).
Если соединения не сжаты и не удерживаются, рифленое кольцо не может двигаться, поэтому муфты не могут быть разъединены. Это и есть элемент безопасности для предотвращения случайного отсоединения.


Отсоединение шланга от ключа
Коаксиальная муфта имеет элемент безопасности для предотвращения случайного отсоединения во время эксплуатации. Узнайте, как отсоединить шланг перед использованием оборудования.
Поддерживайте поворотный коллектор с противоположной стороны в сторону муфты.
Нажимайте на шланг по направлению к ключу (рис. 1) до тех пор, пока зазор между рифленым кольцом и ниппелем не закроется, как показано на (рис. 2).
Удерживая указанное выше положение, оттяните рифленое кольцо от ключа (рис. 3).
Потяните шланг от ключа, и соединение автоматически разъединится (рис. 4).
Если соединения не сжаты и не удерживаются, рифленое кольцо не может двигаться, поэтому муфты не могут быть разъединены. Это и есть элемент безопасности для предотвращения случайного отсоединения.


Подключение системы — винтовая муфта
Насосы и шланги Atlas Copco оснащены муфтами, предварительно сконфигурированными для работы с ключами Torcflex, как показано ниже.
Если для работы с ключами Torcflex используется оборудование не производства Atlas Copco, убедитесь, что соединения настроены согласно приведенным данным.

1 | Гаечный ключ | 2 | Насос |
Убедитесь, что все муфты соединены правильно, без зазоров между втулками и фитингами. Никогда не используйте гаечные ключи или другие инструменты для затягивания или ослабления муфт.

Убедитесь, что соединители полностью вставлены и плотно прикручены друг к другу.
Никогда не используйте два двойных гидравлических шланга между насосом и инструментом. Во избежание неисправности инструмента не меняйте соединители местами. Не пытайтесь затягивать или ослаблять муфты под давлением.
Эксплуатация
Рекомендации по эргономике
Просмотрите данный перечень общих эргономических рекомендаций, чтобы понять, можно ли выявить области для улучшения с точки зрения положения оператора, работы или производственных условий.
Чаще делайте перерывы в работе и меняйте рабочие положения.
Приспособьте пространство рабочего места в соответствии со своими потребностями и рабочим заданием.
Расположите инструменты в удобной для вас зоне досягаемости во избежание статической нагрузки.
Во время сборочных операций избегайте рабочих положений выше уровня плеч или со статической нагрузкой.
При работе на уровне выше плеч снижайте нагрузку на статические мышцы, уменьшая вес инструмента, используя, например, моментные рычаги, шланговые барабаны или весовые балансиры. Нагрузку на статические мышцы также можно уменьшить, держа инструмент близко к телу.
Делайте частые перерывы.
Избегайте крайних положений рук и запястий, особенно при выполнении операций, требующих определенных усилий.
Отрегулируйте удобное поле зрения, которое требует минимальное движение глаз и головы.
Используйте освещение, соответствующее рабочему заданию.
Выбирайте инструмент, соответствующий рабочему заданию.
В условиях высокого шума используйте средства защиты органов слуха.
Инструкции по эксплуатации
Безопасность при эксплуатации
Рабочее давление
Все компоненты системы должны иметь номинальное динамическое давление 700 бар (10 000 фунтов на кв. дюйм). Если используются насосы и шланги производства не Atlas Copco, убедитесь, что оборудование подходит для использования с ключами Atlas Copco.
Рабочее давление насоса:
Максимальное давление подачи: 700 бар (10 000 фунтов на кв. дюйм)
Максимальное давление втягивания: 120 бар (1740 фунтов на кв. дюйм)
Установка целевого момента затяжки
После настройки ключа и его подключения к насосу необходимо установить целевой выходной момент затяжки. Чтобы установить выходной момент затяжки, необходимо отрегулировать значение выходного давления на насосе.
Посмотрите лист калибровочных данных или таблицу преобразования момента затяжки/давления для инструмента, чтобы определить давление, при котором будет обеспечиваться правильный момент затяжки.
Ослабьте стопорную гайку на клапане регулировки давления, затем ослабьте винт-барашек, пока он не начнет свободно вращаться. Не снимайте винт-барашек.
Подсоедините насос к подходящему источнику питания.
Когда гаечный ключ свободно перемещается, т. е. не зафиксирован креплением, запустите насос, нажав и отпустив кнопку подачи [1] на подвесном пульте дистанционного управления один раз.
Нажмите и удерживайте кнопку подачи [1].
Поршень ключа продвигается до полного хода, и давление нарастает.
Следите за давлением на манометре. Продолжайте удерживать кнопку подачи [1] и затягивайте или ослабляйте винт-барашек, пока на манометре не будет достигнуто целевое значение.
Отпустите кнопку подачи [1].
Поршень ключа втягивается.
Снова нажмите и удерживайте кнопку подачи [1]. Убедитесь, что целевое значение достигнуто, затем отпустите кнопку подачи [1].
Удерживая винт-барашек, зафиксируйте клапан стопорной гайкой.
После блокировки клапана нажмите и удерживайте кнопку подачи [1] еще раз и убедитесь, что вы все еще достигается целевое значение. При необходимости выполните регулировку.
Система готова к работе.

A | Стопорная гайка | B | Винт-барашек |

1 | Кнопка подачи | 0 | Кнопка останова |
Использование ключа Slim Link
Необходимые условия
Пользуйтесь средствами индивидуальной защиты. Необходимо надевать правильное и подходящее защитное снаряжение.
Всегда выполняйте оценку рисков соответствующей задачи перед использованием инструмента.
Регулярно проверяйте инструмент, силовой агрегат, шланги, соединители, электрические кабели и принадлежности на отсутствие видимых повреждений. Всегда соблюдайте инструкции по техническому обслуживанию инструмента и насоса.
Выберите тонкое соединение с малым зазором соответствующего размера и вставьте его в инструмент. Работа инструмента (затягивание и ослабление болтов) определяется положением инструмента относительно гайки/болта.
Подсоедините шланги: Убедитесь, что все соединения шлангов надежно и правильно выполнены. Убедитесь, что шланги не имеют дефектов.
Начало работы
Прокрутите инструмент: Поместите инструмент на плоскую поверхность, а не на гайку, включите насос. Нажмите и удерживайте кнопку подачи [1] на подвесном пульте дистанционного управления, пока шестигранный храповик не начнет поворачиваться. Отпустите кнопку, дождитесь полного втягивания инструмента. Повторите действия.
Установите давление насоса для достижения требуемого крутящего момента.
См. раздел «Установка целевого крутящего момента».
Поместите инструмент на гайку, которую необходимо затянуть или освободить.
Приводной ход силовой головки всегда поворачивает шестигранный храповик (и, следовательно, гайку) в передней части инструмента, то есть отворачивается от реактивной точки. Slim Links спроектированы с интегрированной реактивной штангой, чтобы взаимодействовать с соседней гайкой или другой подходящей надежной реактивной точкой.
Убедитесь, что гайка соответствует размеру инструмента.
Во время работы обязательно используйте прочную реактивную точку.


Избегайте чрезмерного изгиба и перекручивания шлангов:

Запрещается бить молотом по ключу для освобождения элемента:

Проверка направления стержня
Прежде чем использовать ключ, убедитесь, что установлено правильное направление вращения. Направление указано стрелкой в верхней части инструмента.
Реактивная штанга будет вращаться в направлении, противоположном стержня, пока не коснется подходящей реакционной точки.

1 | Ослабление: против часовой стрелки Затяжка: по часовой стрелке |
2 | Реактивная штанга |
3 | Стрелка, указывающая направление |
Если необходимо изменить направление вращения, переверните ключ и установите его на приложение.
Затяжка
Если применимо, никогда не превышайте указанный на Slim Link максимальный крутящий момент/давление.
Поместите инструмент на крепежный элемент, который необходимо затянуть. Нажимайте инструмент по направлению к реакционной поверхности до тех пор, пока реактивная штанга не коснется подходящей реакционной точки.

Реакционная структура должна быть достаточно прочной, чтобы выдержать силу реакции гидравлического инструмента.
Избегайте наклонных поверхностей, так как реактивная штанга может скользить, вызывая неблагоприятную нагрузку и нестабильность инструмента.
Не используйте свободные прокладки для создания реакционной структуры. Если стандартная реактивная штанга не подходит, обратитесь за консультацией в Atlas Copco.
Нажмите и отпустите кнопку подачи [1] на подвесном пульте дистанционного управления, чтобы запустить насос.
Поддерживайте инструмент с помощью опорной рукоятки и убедитесь в следующем:
трещоточное звено полностью вошло в зацепление с затягиваемым креплением;
реактивная штанга плотно прилегает к реакционной конструкции;
шланг и муфты могут свободно перемещаться, не касаясь окружающих конструкций.

Имейте в виду, что когда инструмент втягивается, вы должны поддерживать вес инструмента; особенно на инвертированных приложениях. Если инструмент не поддерживается, он может выпасть из приложения.
Нажмите и удерживайте кнопку подачи [1], чтобы стержень вращался.
Когда поршень достигает конца хода, происходит следующее:
трещоточное звено прекращает вращаться;
давление нарастает до установленного значения.
Это не означает, что болт затянут правильно, это лишь указывает на то, что инструмент находится на полном ходу.
Когда инструмент достигнет полного хода, поддержите инструмент и отпустите кнопку подачи [1] на подвесном пульте дистанционного управления. Инструмент автоматически втягивается. Подождите достаточно времени, чтобы инструмент полностью втянулся.
Инструмент готов к подаче. Повторяйте шаги 3–5 до тех пор, пока давление не достигнет целевого значения, а крепежный элемент не перестанет двигаться. Ключ остановился, а крепежный элемент затянут правильно.
Когда инструмент остановится, еще раз нажмите кнопку подачи [1], чтобы убедиться, что крепежный элемент не двигается. Если нет, процесс затяжки завершен.
Нажмите кнопку останова [0] на подвесном пульте дистанционного управления, чтобы остановить насос.

Ослабление
Если применимо, никогда не превышайте указанный на Slim Link максимальный крутящий момент/давление.
Если крепежный элемент сильно проржавел или подвергался воздействию высоких температур в процессе эксплуатации, момент ослабления может более чем в два раза выше момента затяжки. Для ослабления используйте инструмент большего размера, чем для затягивания. Чтобы облегчить ослабление, удалите всю поверхностную ржавчину с помощью проволочной щетки и нанесите проникающее масло на гайку, болт и опорную поверхность. Подождите, пока масло впитается и проникнет внутрь, прежде чем пытаться ослабить крепежный элемент.
При ослаблении крепежного элемент может произойти внезапный выброс энергии, когда элемент высвободится. Это может привести к неожиданной ударной нагрузке на инструмент.
TLS предназначен для приложений с ограниченным доступом с уменьшенной шириной соединения и радиальной толщиной по сравнению со стандартными соединениями TFX. Ударная нагрузка во время первоначального отрыва гайки может повредить компоненты привода, поэтому давление насоса не должно превышать 483 бара (7000 фунтов/кв. дюйм) или максимальное давление, указанное на соединении, в зависимости от того, что ниже.
Никогда не ударяйте по ключу молотком, чтобы ускорить ослабление.

Установите давление насоса на отмеченный на соединении максимальный крутящий момент/давление или 483 бара (7000 фунтов/кв. дюйм), в зависимости от того, что меньше.
Поместите инструмент на крепежный элемент, который необходимо освободить. Нажимайте инструмент по направлению к реакционной поверхности до тех пор, пока реактивная штанга не коснется подходящей реакционной точки.

Реакционная структура должна быть достаточно прочной, чтобы выдержать силу реакции гидравлического инструмента.
Избегайте наклонных поверхностей, так как реактивная штанга может скользить, вызывая неблагоприятную нагрузку и нестабильность инструмента.
Не используйте свободные прокладки для создания реакционной структуры. Если стандартная реактивная штанга не подходит, обратитесь за консультацией в Atlas Copco.
Нажмите и отпустите кнопку подачи [1], чтобы запустить насос.
Поддерживайте инструмент с помощью опорной рукоятки и убедитесь в следующем:
трещоточное звено полностью вошло в зацепление с ослабляемым креплением;
реактивная штанга плотно прилегает к реакционной конструкции;
шланг и муфты могут свободно перемещаться, не касаясь окружающих конструкций.

Имейте в виду, что когда инструмент втягивается, вы должны поддерживать вес инструмента; особенно на инвертированных приложениях. Если инструмент не поддерживается, он может выпасть из приложения.
Нажмите и удерживайте кнопку подачи [1], чтобы стержень вращался.
Давление будет нагнетаться, пока не будет достигнут крутящий момент ослабление; затем давление будет падать, по мере того, как стержень вращается, а крепление ослабляется.
Когда поршень достигает конца хода, происходит следующее:
трещоточное звено прекращает вращаться;
давление нарастает до заданного целевого значения.
Это не означает, что болт полностью снят, это лишь указывает на то, что инструмент находится на полном ходу.
Когда инструмент достигнет полного хода, поддержите инструмент и отпустите кнопку подачи [1] на подвесном пульте дистанционного управления. Инструмент автоматически втягивается. Подождите достаточно времени, чтобы инструмент полностью втянулся.
Инструмент готов к подаче. Повторяйте шаги 4–6, пока крепежный элемент не будет полностью снят.
Нажмите кнопку останова [0] на подвесном пульте дистанционного управления, чтобы остановить насос.

Обслуживание
Инструкции по техобслуживанию
Рекомендации по техническому обслуживанию
Всегда надевайте ударопрочные средства защиты глаз и лица при непосредственном участии или нахождении рядом в процессе работы, ремонта или техобслуживания инструмента либо замены его принадлежностей.
Все исследования, техническое обслуживание или ремонтные работы в случае утечки должны выполняться только при нулевом давлении во всей системе.
Для обеспечения оптимальной эффективности работы часто осматривайте инструмент, силовую установку, шланги, разъемы, электрические кабели и принадлежности на отсутствие видимых повреждений. Всегда соблюдайте инструкции по техническому обслуживанию инструмента и насоса.
Руководство по периодичность обслуживания
Обученный персонал с правильным графиком технического обслуживания может использовать гидравлические гаечные ключи без проблем в течение многих лет. Однако после длительного использования все инструменты изнашиваются. Факторы, влияющие на срок службы инструмента:
Высокая циклическая скорость
Использование при высокой нагрузке
Ударный
Работа в грязной, горячей или влажной среде
Различные методы реакции
Плохое техническое обслуживание
Рекомендуется регулярная смазка и ремонт, чтобы ключ оставался в хорошем рабочем состоянии. Если данное устройство используется при высоких значениях момента, циклической скорости либо для продолжительной затяжки, может потребоваться более частое обслуживание. Если в работе ключа есть отклонения, его немедленно следует отправить на проверку.
Нижеприведенная периодичность обслуживания дана для справки. Каждые условия использования и применения отличаются друг от друга, поэтому ответственность за реализацию надлежащего планового обслуживания, характерного для рабочей среды и использования, лежит на конечном пользователе. Регистрируйте работу инструмента. Эти записи помогают планировать обслуживание, калибровку и замену инструмента или компонентов.
Легкий режим эксплуатации
Пример: Нечастое использование при низком давлении, <40 % от мощности.
Смазка
Slim Link раз в месяц, см. раздел Инструкции по смазке
Переборка
Slim Link раз в 6 месяцев
Силовая головка раз в 12 месяцев. См. раздел Инструкции по капитальному ремонту
Нормальный режим эксплуатации
Пример: Регулярное использование, <80 % от мощности.
Смазка
Slim Link раз в неделю, см. раздел Инструкции по смазке
Переборка
Slim Link раз в 3 месяца
Силовая головка раз в 12 месяцев. См. раздел Инструкции по капитальному ремонту
Тяжелый режим эксплуатации
Пример: Постоянное использование при любом давлении; >80 % от мощности; регулярное ослабление ржавых болтов.
Смазка
Slim Link раз в 2 дня, см. раздел Инструкции по смазке
Переборка
Slim Link раз в месяц
Силовая головка раз в 6 месяцев, см. раздел Инструкции по смазке.
Использование в зонах ATEX
Используйте рекомендации в разделе для тяжелого режима эксплуатации независимо от режима работы, чтобы значительно снизить риск отказа компонентов при использовании. Если ключ показывает признаки неисправности, удалите его из зоны ATEX, прежде чем искать причину. НЕ пытайтесь ремонтировать ключ в зоне ATEX. Несоблюдение рекомендаций по техническому обслуживанию увеличивает вероятность механического отказа и, следовательно, возможность возникновения механической искры.
Шланг высокого давления
Шланги следует регулярно разбирать. Фитинги и переходники необходимо проверить на признаки износа и повреждения. Если во время технического обслуживания обнаружится износ или повреждения, поврежденную часть необходимо изъять из эксплуатации и заменить.
Осмотрите шланги на наличие следов масла, что является указанием на медленную протечку шланга. Обратите пристальное внимание на обжимы с обоих концов шланга, поскольку это наиболее вероятные области протечки масла. При обнаружении медленной протечки шланг следует заменить.
После каждого применения шланг обязательно следует очистить и свернуть в бухту. Необходимо протереть шланги чистой тканью и опрыскать подходящим масляным ингибитором ржавчины, например, Shell Ensis или Castrol Rustillo.
Запрещается огибать шлангом препятствия или использовать шланг для перемещения подключенного к нему оборудования.
Следует проводить испытание давлением шлангов каждые два года и заменять комплекты шлангов каждые шесть лет.
Замена инструмента
Владелец продукта должен внедрить план обслуживания для политики замены инструмента. Эта политика гарантирует, что работающие инструменты будут заменены до того, как инструмент больше нельзя будет использовать. Из-за различных условий эксплуатации и потенциальных несоответствий в обслуживании инструмента определить срок службы инструмента трудно.
Визуальные признаки износа, такие как рубцы, вмятины или отсутствующий материал, указывают на то, что инструмент больше нельзя использовать. Инструменты для обслуживания с признаками износа. Для поддержания состояния инструментов замените поврежденные детали. Если на инструменте обнаружены серьезные повреждения компонентов, содержащих давление, или реактивных упоров, в целях безопасности инструмент необходимо снять.
Дополнительную информацию см. в руководстве по интервалам обслуживания.
Профилактическое техобслуживание
Чтобы поддерживать систему гидравлического динамометрического ключа в хорошем рабочем состоянии, выполняйте следующие действия по техническому обслуживанию после каждого периода использования.
Протрите начисто все внешние поверхности и осмотрите инструмент на наличие признаков повреждения. Выполните подробную проверку, если это необходимо.
Осмотрите все гидравлические соединения и соединения на наличие признаков гидравлических утечек. Выполните подробную проверку, если это необходимо.
Убедитесь, что все гидравлические муфты чистые и на них нет мусора.
Осмотрите шланг по всей его длине; ищите порезы или ссадины. Обратите особое внимание на обжатые концы и ищите любые признаки утечек.
Если оборудование находится в хорошем рабочем состоянии, обрызгайте его подходящим маслом-ингибитором ржавчины, таким как Shell Ensis или Castrol Rustillo, и храните его готовым к следующему использованию.
Инструкции по ремонту
Подключите ключ к насосу.
Выполните испытание под давлением, чтобы убедиться, что все механизмы функционируют должным образом.
Проверьте любые неисправности или признаки гидравлических утечек.
Сбросьте давление в системе и отсоедините все муфты.
Разберите ключ.
Замените все уплотнители и пружины.
Замените приводной штифт.
Замените все прочие компоненты с признаками повреждения или износа.
Нанесите смазку и соберите ключ.
Выполните испытание под давлением и убедитесь, что все механизмы функционируют должным образом.
Откалибруйте ключ, чтобы убедиться, что выходной крутящий момент соответствует ожидаемому.
Инструкции по смазке
Руководство по смазке
Компоненты привода | Molykote 1000 |
Уплотнители | Rocol Sapphire Aqua-Sil |
Крепежные элементы | Loctite 243 |
Конические гидравлические резьбовые соединения | Loctite 577 |
Смазка
Чтобы поддерживать ключи в хорошем рабочем состоянии, регулярно смазывайте приводные компоненты в промежутках между обслуживанием.
Разбор перед смазкой:
снимите винты боковой пластины и саму пластину.
снимите приводной узел.

Выполните следующие действия во время смазочных работ:
осмотрите приводной штифт и пружины на наличие признаков износа или повреждения. При необходимости замените приводной штифт и пружины;
осмотрите края зубьев храповика на наличие признаков повреждения. При необходимости замените храповик;
Проверьте правильность работы пружин приводной собачки и полностью зацепите зубья храповика/приводной собачки. При необходимости замените пружины.
Смажьте затененные участки, обе боковые пластины и обе поверхности приводной пластины смазкой Molykote 1000.
Порядок сборки такой же, как и разборки, но в обратном порядке. Значения моментов затяжки винтов см. в Сборка Slim Link.
Инструкции по разборке / сборке
Разбор силовой головки
Ослабьте болты, удерживающие шарнир.
Снимите шарнир.
Расположите масляные отверстия над подходящей емкостью.
Вытяните шток поршня до упора.
Затолкайте его обратно.
Масло из инструмента вытекает через отверстия.
Отверните винты торцевой крышки и снимите крышку.
Вытяните шток поршня до упора. Зажмите конец штока поршня в тисках.
Ослабьте конце штока поршня с помощью головки и удлинителя. Открутите конец шток поршня.
Вытащите поршень через отверстие в корпусе.


Разбор Slim Link
Порядок разборки такой же, как и сборки, но в обратном порядке. См. раздел Сбор Slim Link.
Сборка силовой головки
Нанесите на манжету Aqua-Sil и вставьте в корпус [1].
Нанесите на уплотнительное кольцо и манжету Aqua-Sil и установите их на поршень [2].
Нанесите на уплотнительное кольцо Aqua-Sil и поместите его на торцевую крышку [3].
Нанесите небольшое количество гидравлического масла на отверстие корпуса.
Вставьте поршень в корпус и протолкните его до конца отверстия корпуса.
Нанесите Loctite 277 на резьбу на конце штока поршня и ввинтите его в шток поршня.
Зажмите конец поршневого штока в тисках и затяните поршневой шток с помощью головки и удлинителя.
Модель
Размер головки
Момент затяжки (Нм)
TFX04
19 мм
40
Вставьте торцевую крышку в корпус.
Нанесите Loctite 243 на винты торцевой крышки. Вкрутите их в корпус и затяните до соответствующего установочного момента.
Модель
Шестигранный ключ (мм)
Момент затяжки (Нм)
TFX04
5
18
Вставьте поворотный коллектор. См. раздел Сбор поворотного коллектора.
Удалите смазку с резьбы на неподвижном штифте и нанесите Loctite 243 на внутреннюю резьбу. Свинтите 2 части неподвижного штифта и затяните с правильным установочным моментом.
Модель
Шестигранный ключ (мм)
Момент затяжки (Нм)
TFX04
4
8



Сбор поворотного коллектора
Ключ Torcflex может быть оснащен 2 типами поворотных коллекторов. Следуйте приведенным ниже инструкциям, чтобы при необходимости заменить коллектор или сменить его тип.
Используйте Loctite 243 в качестве фиксатора резьбы, чтобы предотвратить ослабление соединений.
Модель | Шестигранный ключ (мм) | Момент затяжки (Нм) |
|---|---|---|
TFX04 | 5 | 18 |
Установка коаксиального поворотного коллектора

Установка двухпроводного поворотного коллектора

Заполнение маслом
Подсоедините ключ к насосу через шланг.
Нажмите и отпустите кнопку подачи [1], чтобы запустить насос.
Втягивающаяся сторона гидравлического цилиндра автоматически заполняется и толкает поршень в начальное положение. Воздух с передней стороны поршня будет проталкиваться в шланг.
Нажмите кнопку останова [0], чтобы остановить насос. Затем нажмите кнопку на направляющем распределите, чтобы сбросить давление в линии втягивания.
Отсоедините шланг и удалите воздух из шланга следующим образом:
Для коаксиальных шлангов: отсоединив ключ, запустите насос и снова остановите его через 10 секунд. Это вызовет циркуляцию масла между линиями подачи и отвода и удалит воздух из шланга.
Для шлангов с резьбовым соединением: скрутите свободные концы шлангов вместе, чтобы образовалась петля. Запустите насос и снова остановите его через 10 секунд. Это вызовет циркуляцию масла между линиями подачи и отвода и удалит воздух из шланга.
Подсоедините шланг к ключу.
Выполните 10 циклов поршня.
Остановите насос.
Отсоедините шланг и повторите шаг 4 – процедуру удаления воздуха.
Испытание давлением
Подключите ключ к насосу.
Нажмите и отпустите кнопку подачи [1], чтобы запустить насос. Подождите 10 с и проверьте, нет ли следов утечки масла.
Нажмите и удерживайте кнопку подачи [1], чтобы давление в инструменте выросло до 690 бар (10 000 фунтов на кв. дюйм). Удерживайте 10 с и проверьте, нет ли следов утечки масла.
Отпустите кнопку и выполните нагнетание давления еще 3 раза. каждый раз выполняя поиск утечек масла.
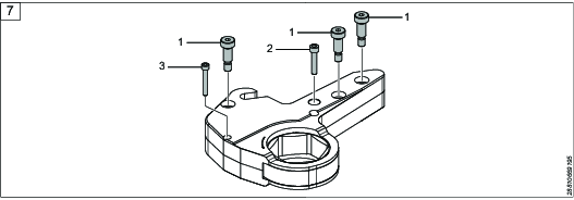
Сборка Slim Link
Винт 1 | Винт 2 | Винт 3 | Винт 4 | |||
|---|---|---|---|---|---|---|
Шестигранный ключ (мм) | Момент затяжки (Нм) | Шестигранный ключ (мм) | Момент затяжки (Нм) | Шестигранный ключ (мм) | Момент затяжки (Нм) | Шестигранный ключ (мм) |
5 | 24 | 5 | 18 | 4 | 11 | 2,5 |






Установите приводной штифт и пружину в приводную пластину и зафиксируйте ее, вставив пружинный штифт.
Смажьте обе боковые пластины, приводную пластину, храповик и приводной штифт смазкой Molykote 1000.
Установите приводную пластину в левую боковую пластину.
Установите пружины в приводную собачку, затем вставьте их в карман приводной пластины.
Установите храповик в узел привода, убедившись, что зубья правильно зацепляются с приводной собачкой. Поверните храповик в узле привода, чтобы обеспечить правильную работу.
Соберите правую боковую пластину на храповик и совместите отверстия для винтов.
Нанесите Loctite 243 на винты (1), (2), (3) и затяните их моментом, указанным в таблице.
Вставьте стопорный штифт через обе боковые пластины. Расположите вырез штифта на одной линии с отверстием для винта, затем установите фрикционную шайбу и винт (4). Отрегулируйте момент затяжки винта таким образом, чтобы трение шайбы удерживало штифт в положении при перевернутом соединении.
Тестирование сборки
Присоедините силовую головку к тонкому соединению. См. раздел Установка храпового соединения TLS.
Поверните храповик и убедитесь, что ведущая и реактивная собачки двигаются должным образом.
Подсоедините ключ к насосу и шлангу.
Выдвигайте и втягивайте ключ; убедитесь, что шестигранный храповик перемещается вперед с каждым циклом.
В качестве последней проверки откалибруйте ключ, чтобы убедиться, что выходной крутящий момент соответствует ожидаемому.
Устранение неисправностей
Устранение неисправностей
Неполадка | Вероятная причина | Требуемое действие |
|---|---|---|
Ключ не выдвигается. | 1. Муфты не полностью соединены или неисправны. | 1. Подтяните или замените муфты. |
2. Неисправны уплотнители поршня ключа или уплотнители поворотного коллектора. | 2. Замените уплотнители. | |
3. Электромагнитный клапан насоса неисправен. | 3. Замените электромагнитный клапан насоса. См. инструкцию к насосу. | |
Ключ не втягивается. | 1. См. выше. | 1. См. выше. |
2. Неисправность приводного штифта. | 2. Замените приводной штифт. | |
3. Неисправность пружины собачки. | 3. Замените пружины собачки. | |
4. Неисправность храповика или приводной собачки. | 4. Замените поврежденные компоненты. | |
Ключ не выдвигается, но на манометре отображается давление. | 1. Муфты не полностью соединены или неисправны. | 1. Подтяните или замените муфты. |
2. Электромагнитный клапан насоса неисправен. | 2. Замените электромагнитный клапан насоса. См. инструкцию к насосу. | |
Ключ работает в обратном направлении (только для винтовых муфт). | 1. Муфты подключены наоборот либо на ключе, либо на насосе, либо на шланге. | 1. Исправьте ориентацию муфт. См. раздел Соединение винтовых муфт. |
2. В системе используется четное количество шлангов, из-за чего меняется направление потока масла. | 2. Измените количество шлангов в системе на нечетное, чтобы скорректировать направление потока масла. | |
Давление в ключе не нагнетается. | 1. Неисправны уплотнители поршня ключа или уплотнители поворотного коллектора. | 1. Замените уплотнители. |
2. Перепускной клапан давления насоса неисправен. | 2. Замените перепускной клапан. См. инструкцию к насосу. | |
3. Напряжение на насосе слишком низкое из-за использования удлинительных кабелей. | 3. Используйте более короткий удлинительный кабель или провода большего сечения. См. инструкцию к насосу. | |
4. Давление воздуха в насосе или расход воздуха слишком низкие. | 4. Требования см. в инструкции к насосу. | |
5. Для воздушных фильтров, регуляторов, смазочных устройств (FRL) имеется ограничение из-за чрезмерной влажности или грязи в поступающем воздухе. | 5. Отремонтируйте или замените FRL. См. инструкцию к насосу. | |
6. Низкий уровень масла в насосе, или забит фильтр. | 6. Заполните масляный бак или очистите воздушный фильтр. См. инструкцию к насосу. | |
Ключ работает медленно. | 1. Муфты не полностью соединены или неисправны. | 1. Подтяните или замените муфты. |
2. Имеется сужение в гидравлическом или пневматическом (воздушный насос) шланге. | 2. Замените шланг. | |
3. Напряжение, давление воздуха в насосе или расход воздуха слишком низкие. | 3. Требования см. в инструкции к насосу. | |
4. Для воздушных фильтров, регуляторов, смазочных устройств (FRL) имеется ограничение из-за чрезмерной влажности или грязи в поступающем воздухе. | 4. Отремонтируйте или замените FRL. См. инструкцию к насосу. | |
5. Низкий уровень масла в насосе, или забит фильтр. | 5. Заполните масляный бак или очистите воздушный фильтр. См. инструкцию к насосу. | |
6. Имеется внутренняя утечка в ключе или коаксиальной муфте. | 6. Замените уплотнители. | |
7. Имеется внутренняя утечка в насосе. | 7. Устранение неисправностей см. в инструкции к насосу. | |
Храповик не делает последовательных ходов. | 1. Храповик, приводная собачка или пружины приводной собачки повреждены. | 1. Замените поврежденные компоненты. |
2. Неисправность пружины приводного штифта. | 2. Замените пружину. | |
3. Неисправность приводного штифта. | 3. Замените приводной штифт. | |
Храповик прыгает во время хода подачи. | 1. Храповик, приводная собачка или пружины приводной собачки повреждены. | 1. Замените поврежденные компоненты. |
На манометре нет показаний, но ключ работает. | 1. Манометр неисправен. | 1. Замените манометр. |
Трудно подсоединить шланг к ключу или насосу. | 1. В шланге сохраняется давление. 2. Муфта повреждена. | 1. Сбросьте давление в шланге. 2. Замените муфту. |
Из-под кожуха течет масло. | 1. Уплотнитель штока поврежден. 2. Внутренний уплотнитель поршня поврежден. | 1. Замените уплотнитель штока. 2. Замените уплотнители поршня. |
Шарнирная или коаксиальная муфта горячая. | 1. Уплотнители изношены или повреждены. | 1. Замените уплотнители. |
Из муфты вытекает масло после разъединения. | 1. Муфта заедает, возможное загрязнение. | 1. Соедините снова и отсоедините. Очистите муфты и проверьте на наличии загрязнений. |
2. Муфта повреждена. | 2. Замените муфту. |
Утилизация
Указания по утилизации
Ниже приведен покомпонентный вид и перечень компонентов инструмента Torcflex Slim Link для переработки.

Поз. | Деталь | Утилизировать как |
|---|---|---|
1 | Винт | Сталь |
2 | Стопорный штифт | Сталь |
3 | Винт | Сталь |
4 | Винт | Сталь |
5 | Боковая пластина | Сталь |
6 | Храповый механизм | Сталь |
7 | Приводная собачка | Сталь |
8 | Пружина | Сталь |
9 | Пружина со шлицем | Сталь |
10 | Приводная пластина | Сталь |
11 | Пружина приводного шрифта | Сталь |
12 | Приводной штифт | Сталь |
13 | Боковая пластина | Сталь |
14 | Фрикционная шайба | Полиуретан |
15 | Винт | Нержавеющая сталь |
16 | Конец шатуна | Сталь |
17 | Пружина | Сталь |
18 | Корпус в сборе | Алюминий |
19 | O-кольцо | Полиуретан |
20 | O-кольцо | Полиуретан |
21 | Пружинящее кольцо со шлицем | Сталь |
22 | Поворотная стойка | Нержавеющая сталь |
23 | Винт | Сталь |
24 | O-кольцо | Полиуретан |
25 | O-кольцо | Полиуретан |
26 | Поворотный корпус | Алюминий |
27 | Поворотный колпачок | Алюминий |
28 | Винт | Сталь |
29 | O-кольцо | Полиуретан |
30 | Муфта | Сталь |
31 | Штифт | Сталь |
32 | Шариковый подшипник | Сталь |
33 | Винт | Сталь |
34 | Втулка | Бронза |
35 | Уплотнитель | Полиуретан |
36 | Поршневой шток | Сталь |
37 | O-кольцо | Полиуретан |
38 | Уплотнитель | Полиуретан |
39 | O-кольцо | Полиуретан |
40 | Зад. головка | Алюминий |
41 | Винт | Сталь |
Предписания по защите окружающей среды
После окончания срока службы устройства его необходимо утилизировать надлежащим образом. Разберите устройство и утилизируйте его компоненты в соответствии с местным законодательством.

