Informazioni sul prodotto
Informazioni generali
Parole dei segnali di sicurezza
Le parole dei segnali di sicurezza pericolo, attenzione, prudenza e nota hanno i seguenti significati:
PERICOLO | PERICOLO indica una situazione di pericolo che, se non evitata, provocherà infortuni gravi o mortali. |
ATTENZIONE | ATTENZIONE indica una situazione di pericolo che, se non evitata, potrà provocare infortuni gravi o mortali. |
PRUDENZA | PRUDENZA, utilizzato con il simbolo di allarme, indica una situazione di pericolo che, se non evitata, potrebbe provocare infortuni di scarsa o minore gravità. |
NOTA | NOTA è utilizzato per evidenziare pratiche non corrette che non comportano lesioni personali. |
Garanzia
La garanzia del prodotto scade 12 mesi dal primo utilizzo del prodotto o al più tardi 13 mesi dalla consegna.
La garanzia non copre la normale usura dei componenti.
Per normale usura si intende una condizione che richiede la sostituzione di un pezzo o altra regolazione/riparazione durante la normale manutenzione dell'utensile in un dato periodo (espresso in durata, ore di funzionamento o altro).
La garanzia del prodotto si basa su utilizzo, manutenzione e riparazione corretti dello strumento e dei suoi componenti.
Sono esclusi dalla garanzia eventuali danni ai componenti verificatisi a seguito di manutenzione inadeguata o effettuata con pezzi non di Atlas Copco o dei Partner addetti alla manutenzione certificati durante il periodo di garanzia.
Per evitare danni o la distruzione dei componenti dello strumento, ripararlo secondo il programma di manutenzione consigliato e attenersi alle istruzioni corrette.
Le riparazioni in garanzia possono essere eseguite esclusivamente in officine Atlas Copco o da Partner addetti alla manutenzione certificati.
Atlas Copco mette a disposizione i contratti . ToolCover per estensioni di garanzia e manutenzioni preventive. Per ulteriori informazioni, contattare il proprio rappresentante di manutenzione locale.
Per motori elettrici:
La garanzia è valida solo se il motore elettrico non è stato aperto.
ServAid
ServAid è un portale continuamente aggiornato e contenente informazioni tecniche come ad esempio:
- Informazioni sulla regolamentazione e sulla sicurezza
Dati tecnici
Istruzioni su installazione, funzionamento e assistenza
Elenchi delle parti di ricambio
Accessori
Diagrammi dimensionali
Visita: https://servaid.atlascopco.com.
Per ulteriori informazioni tecniche, contatta un rappresentante locale Atlas Copco.
Sito web
Il sito web Atlas Copco offre informazioni su prodotti, accessori, parti di ricambio e pubblicazioni.
Visita: www.atlascopco.com.
Schede informative in materia di sicurezza MSDS/SDS
Le schede informative di sicurezza descrivono i prodotti chimici commercializzati da Atlas Copco.
Per ulteriori informazioni, consultare il sito Web Atlas Copcowww.atlascopco.com/sds.
Installazione degli utensili a vibrazione
Si raccomanda di inserire una lunghezza minima di 300 mm (12") di tubo flessibile per l'aria compressa tra un utensile a vibrazione e il raccordo ad attacco rapido.
Paese di origine
Per il Paese di origine, fare riferimento alle informazioni sull'etichetta del prodotto.
Diagrammi dimensionali
I diagrammi dimensionali si trovano nell'archivio diagrammi dimensionali o su ServAid.
Visita: http://webbox.atlascopco.com/webbox/dimdrw o https://servaid.atlascopco.com.
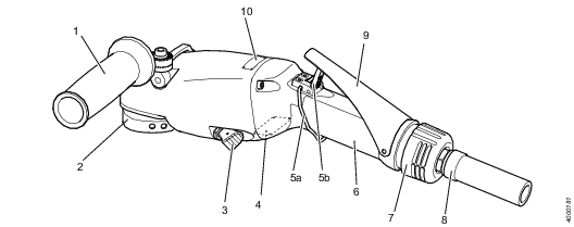
Panoramica
Componenti principali

|
Posizione |
Componente |
Funzione |
|---|---|---|
|
1 |
Maniglia di supporto |
Regolabile per una posizione di lavoro flessibile per operatori destrimani o mancini. |
|
2 |
Bilanciatore automatico |
Riduce le vibrazioni. |
|
3 |
Pulsante di bloccaggio mandrino/Regolazione della protezione mola |
Doppia funzionalità. Bloccaggio del mandrino con spinta del pulsante in avanti. Regolazione della protezione della mola con trazione del pulsante all'indietro. |
|
4 |
Targhetta informativa |
Visualizza informazioni generiche sull'utensile. |
|
5 |
Meccanismo di sicurezza |
Funzione in due fasi per un avvio e un arresto sicuro dell'utensile. Premere in avanti la forcella di disinnesto della frizione (5a) per rilasciare il meccanismo di sicurezza (5b). |
|
6 |
Impugnatura di comando |
Impugnatura dal design ergonomico, pratica e sicura che offre inoltre un isolamento termico ottimale. |
|
7 |
Uscita di scarico aria |
Permette una direzione regolabile dell'aria di scarico a 360 gradi per operazioni pratiche e sicure. |
|
8 |
Cavo flessibile |
Facilita le operazioni di collegamento dell'aria e protegge l'utensile da impurità. |
|
9 |
Leva di comando |
Avvia e arresta lo strumento. |
|
10 |
Targhetta |
Indica la velocità nominale dell'utensile. |
Dati tecnici del prodotto
I dati tecnici dei prodotti sono disponibili su ServAid o sul sito Web di Atlas Copco.
Visita: https://servaid.atlascopco.com o www.atlascopco.com.
Panoramica del servizio
Raccomandazioni per la manutenzione
Si consiglia di eseguire la manutenzione preventiva a intervalli regolari. Consultare le informazioni dettagliate sulla manutenzione preventiva. Se il prodotto non funziona bene, metterlo fuori servizio e ispezionarlo.
Se non sono incluse informazioni dettagliate sulla manutenzione preventiva, seguire queste linee guida generali:
Pulire le parti interessate con cautela
Sostituire le parti difettose o usurate
Panoramica degli intervalli di manutenzione
La tabella sottoriportata mostra gli intervalli di manutenzione raccomandati per questo utensile, inclusa la descrizione dei componenti che richiedono una manutenzione dopo 350, 700 e 1.000 ore di esercizio.
Manutenzione a 1.000 ore può essere effettuata solo da officine autorizzate o da manutentori qualificat.
Manutenzione a 350 ore | Manutenzione a 700 ore | Manutenzione a 1.000 ore |
|---|---|---|
Controllare visivamente l'utensile | Controllare visivamente l'utensile | Controllare visivamente l'utensile |
Sostituire l'olio | Sostituire l'olio | Sostituire l'olio |
Pulire i filtri | Pulire i filtri | Pulire i filtri |
Eseguire la manutenzione della turbina | ||
Eseguire la manutenzione del mandrino |
Installazione
Requisiti di installazione
Qualità dell'aria
Un'aria di scarsa qualità può danneggiare l'utensile e ridurne le prestazioni.
-
Per ottenere prestazioni ottimali e prolungare al massimo la vita del prodotto, si consiglia di utilizzare aria compressa con un punto di rugiada massimo pari a +10°C. Si raccomanda l'installazione di un essiccatore d'aria del tipo a refrigerazione di Atlas Copco.
-
Utilizzare un filtro dell'aria separato che rimuova i corpi solidi di grandezza superiore a 30 micron e oltre il 90% dell’acqua. Installare il filtro il più vicino possibile alla al prodotto e a monte di qualsiasi altra unità di trattamento dell'aria per evitare cadute di pressione.
-
La lubrificazione degli utensili liberi è una scelta migliore dal punto di vista ambientale.
-
La lubrificazione ridurrà la durata del motore a turbina e, una volta lubrificato, sarà necessario proseguire con la lubrificazione.
Connessione dell'aria compressa
Per i valori corretti di pressione dell'aria e di dimensioni del tubo flessibile, vedere i dati tecnici del prodotto all'indirizzo https://servaid.atlascopco.com o www.atlascopco.com.
Assicurarsi che il tubo flessibile e i raccordi siano puliti e privi di polvere prima di collegare l'utensile.
Istruzioni di installazione
Controllo visivo - installazione aria
Ispezionare visivamente l'impianto pneumatico dal punto di alimentazione all'utensile prima dell'uso.
Tubo
Raccordi
Pressione del sistema
Filtro dell'aria
Verificare l'assenza di danni che possono compromettere la sicurezza dell'utensile.
Controllo visivo - attrezzi ed accessori
Ispezionare visivamente l'utensile e le sue parti prima dell'utilizzo.
I componenti elencati di seguito possono variare a seconda del modello.
Mola o platorello di estrazione
Adattatori, dadi e rondelle flangiate
Maniglia di supporto
Leva di comando e meccanismo di sicurezza
Bilanciatore
Mandrino
Verificare l'assenza di danni o perdite di olio o di grasso che possono compromettere la sicurezza dell'utensile.
Panoramica sull'installazione
Legenda a pagina 2
-
Coppia raccomandata
-
Lunghezza del cavo flessibile
-
Diametro del cavo
-
Pressione pneumatica di esercizio max.
-
Massima velocità a vuoto
-
Coppia raccomandata
Funzionamento
Linee guida di ergonomia
Osservare la stazione di lavoro durante la lettura delle presenti linee guide ergonomiche generali per individuare eventuali aree di miglioramento relative alla postura dell'operatore, alla collocazione dei componenti o all'ambiente di lavoro.
Fare frequenti interruzioni e cambiare\ spesso la posizione di lavoro.
Adattare la zona della stazione\ di lavoro secondo le proprie necessità e il lavoro svolto.
Regolare un intervallo di distanza comodo da raggiungere determinando dove collocare pezzi e utensili per evitare il movimento statico.
Utilizzare l'attrezzatura della\ stazione di lavoro come tavoli o sedie adatte al lavoro svolto.
Evitare posizioni di lavoro sopra\ il livello della spalla o con tenuta statica durante le operazioni\ di assemblaggio.
Lavorando sopra il livello della spalla, ridurre il carico sui muscoli statici diminuendo il peso dell'utensile, utilizzando per esempio bracci a torsione, avvolgitubo o bilanciatori del peso. Inoltre è possibile ridurre il carico sui muscoli statici tenendo il carico vicino al corpo.
Prendere pause con frequenza.
Evitare posizioni estreme del braccio o del polso, in particolare per le operazioni che richiedono una certa forza.
Impostare un comodo campo visivo che richieda movimenti minimi di occhi e testa.
Utilizzare un'illuminazione adeguata per il lavoro svolto.
Scegliere l'utensile corretto per\ il lavoro svolto.
Utilizzare le protezioni acustiche negli ambienti rumorosi.
Utilizzare utensili o materiali di consumo di elevata qualità per ridurre al minimo l'esposizione a livelli eccessivi di vibrazioni.
Minimizzare l'esposizione a forze\ di reazione.
Durante il taglio:
Un disco da taglio può incastrarsi se piegato o non condotto correttamente. Utilizzare flange adatte ai dischi da taglio e non piegare il disco durante l'operazione di taglio.
Durante la perforazione:
Il trapano può bloccarsi mentre la punta sta forando. Usare impugnature di supporto se la coppia di stallo è elevata. Lo standard di sicurezza ISO11148 parte 3 indica di prendere provvedimenti per assorbire una coppia di reazione superiore a 10 Nm per gli utensili a pistola e a 4 Nm per gli utensili diritti.
Quando si utilizzano utensili a trasmissione diretta o avvitadadi:
Le forze di reazione dipendono dall'impostazione dell'utensile e dalle caratteristiche del giunto. La forza e la postura determinano la quantità di forza di reazione sopportabile per un operatore. Adattare l'impostazione dell'utensile alla resistenza e alla postura dell'operatore e utilizzare un braccio a torsione o barra di reazione se la coppia è troppo elevata.
Negli ambienti polverosi, utilizzare un sistema di estrazione della polvere o una maschera per la protezione della bocca.
Istruzioni di configurazione
Opzioni di configurazione
La tabella sotto riportata mostra le opzioni di configurazione di BSP e NPT con i relativi accessori.
Per il numero d'ordine fare riferimento alla sezione Accessori. Per le istruzioni di installazione, consultare la sezione Funzionamento.

Posizione | Elemento | Sabbiatura, BSP | Sabbiatura, NPT |
|---|---|---|---|
1 | Platorello di estrazione | Ø 180mm | Ø 7” |
2 | Disco in fibra | ||
3 | Dado di bloccaggio del platorello di estrazione | M14 | UNC 5/8”-11 |
Eseguire la manutenzione dello strumento | Chiave a compasso, CC.30 × Ø 5 mm | Chiave a compasso, CC.30 × Ø 5 mm | |
4 | Kit di bloccaggio | Accessorio incluso, M6 × 20 | Accessorio incluso, UNC 1/4” |
Eseguire la manutenzione dello strumento | Chiave esagonale da 4mm | Chiave esagonale da 4mm | |
Coppia raccomandata | 15 Nm | 11 ftlb |
Opzioni di montaggio della leva
Rimuovere la leva utilizzando un cacciavite.
Rimuovere le due viti che trattengono il supporto del rilascio.

Sigillare i fori delle viti con le due viti nel kit della leva.
Inserire la leva di ricambio utilizzando un cacciavite.

Istruzioni per l'uso
Installazione del platorello di estrazione
Prima di iniziare l'installazione
Controllare visivamente che il platorello di estrazione non sia incrinato o danneggiato.

Verificare che le dimensioni del foro del platorello di estrazione siano corrette.
Verificare di utilizzare il tipo di abrasivo corretto per l'applicazione.
Verificare che la velocità nominale massima indicata sul platorello di estrazione sia superiore o uguale alla velocità riportata sull'utensile.
Utensili richiesti:
Chiave a compasso
Premere il pulsante di blocco mandrino in avanti e mantenerlo premuto ruotando il bilanciatore automatico nella posizione di bloccaggio. Attendere l'emissione di un suono che indica la posizione corretta.
Premere il pulsante di blocco mandrino in avanti e mantenerlo premuto rimuovendo l'adattatore (se collegato) con una chiave a compasso.
Montare il platorello di estrazione e l'abrasivo sul mandrino.
Fissare la rondella a flangia con la chiave a compasso alla coppia raccomandata. Fissare il kit di bloccaggio utilizzando la chiave a brugola alla coppia raccomandata.
Verificare che il platorello di estrazione giri correttamente.


Regolazione della maniglia di supporto
Utensili richiesti:
Chiave a brugola (memorizzati all'interno della maniglia)
Allentare la maniglia di supporto utilizzando una chiave a brugola.
Regolare la maniglia di supporto in una posizione adeguata.
Stringere la maniglia di supporto con la vite alla coppia raccomandata.

Verifica della velocità a vuoto
Utensili richiesti:
Chiave a compasso
Tachimetro
Premere il pulsante di blocco mandrino in avanti e mantenerlo premuto serrando l'adattatore mediante una chiave a compasso.
Collegare l'utensile all'alimentazione pneumatica.
Inserire un tachimetro nel foro del mandrino.
Avviare l'utensile e misurare la velocità alla pressione di 6,3 bar.

Verificare che la leva di comando sia premuta completamente e misurare la velocità per almeno 1 minuto
Estrarre il tachimetro.
Confrontare la velocità a vuoto sul tachimetro con la velocità indicata sull'utensile.



Funzionamento della sabbiatrice
-
Collegare l'utensile all'alimentazione pneumatica (se non è già collegato).
-
Dirigere lo scarico dell'aria sull'impugnatura di comando lontano dall'operatore.
-
Premere in avanti la forcella di disinnesto della frizione per rilasciare il meccanismo di sicurezza.
-
Premere la leva di comando per avviare l'utensile.
Sostituire la leva di comando se non funziona correttamente.

Assistenza
Istruzioni per la manutenzione
Raccomandazioni per la manutenzione
Si consiglia di eseguire la manutenzione preventiva a intervalli regolari. Consultare le informazioni dettagliate sulla manutenzione preventiva. Se il prodotto non funziona bene, metterlo fuori servizio e ispezionarlo.
Se non sono incluse informazioni dettagliate sulla manutenzione preventiva, seguire queste linee guida generali:
Pulire le parti interessate con cautela
Sostituire le parti difettose o usurate
Manutenzione preventiva
Panoramica degli intervalli di manutenzione
La tabella sottoriportata mostra gli intervalli di manutenzione raccomandati per questo utensile, inclusa la descrizione dei componenti che richiedono una manutenzione dopo 350, 700 e 1.000 ore di esercizio.
Manutenzione a 1.000 ore può essere effettuata solo da officine autorizzate o da manutentori qualificat.
Manutenzione a 350 ore | Manutenzione a 700 ore | Manutenzione a 1.000 ore |
|---|---|---|
Controllare visivamente l'utensile | Controllare visivamente l'utensile | Controllare visivamente l'utensile |
Sostituire l'olio | Sostituire l'olio | Sostituire l'olio |
Pulire i filtri | Pulire i filtri | Pulire i filtri |
Eseguire la manutenzione della turbina | ||
Eseguire la manutenzione del mandrino |
Istruzioni per la manutenzione
Cambio dell'olio
Utensili richiesti:
Morsa
Cacciavite TX20
Chiave torsiometrica
Ricambi
Kit di manutenzione comprendente la siringa con 7 ml di olio Turbine Gearbox Oil 32
(disponibile su ordinazione da Atlas Copco).
Convertitore di coppia
3 Nm = 2,2 ft lbs
6 Nm = 4,4 ft lbs
Collegare l'utensile all'alimentazione pneumatica (se non è già collegato).

Bloccare sempre il bilanciatore automatico con il relativo pezzo prima di mettere in funzione l'utensile.
Fare funzionare l'utensile a vuoto per 60 secondi.
Scollegare il tubo dell'aria compressa dall'utensile.
Rimuovere la maniglia di supporto dall'utensile.
Collocare l'utensile in una posizione orizzontale e stabile. Rimuovere la vite del mandrino.
Rimuovere il tappo dell'olio. Mantenere l'utensile in una posizione orizzontale.
Scaricare l'olio dall'utensile per almeno 30 secondi.
Montare la vite del mandrino in posizione e serrare alla coppia consigliata.
Collocare l'utensile in una morsa in una posizione verticale con il foro di rabbocco dell'olio rivolto verso il basso. Rabboccare l'utensile con 7 ml di Turbine Gearbox Oil 32 utilizzando una siringa (inclusa nel kit di manutenzione).

Verificare che l'utensile sia riempito di olio entro l'intervallo consigliato di valori.. Un livello alto dell'olio causa surriscaldamento, mentre un livello basso causa l'usura degli ingranaggi nel tempo.
Pulire il magnete sul tappo dell'olio da olio e particelle utilizzando un panno privo di lanugine pulito.
Montare il tappo dell'olio in posizione e serrare alla coppia consigliata.



Pulizia del filtro dell'aria a maglia fine
Utensili richiesti:
Morsa
Chiave torsiometrica
Avvitatore
Pistola per aria compressa
Parti di ricambio: Dopo 1.000 ore di servizio, il filtro deve essere sostituito.
Posizionare l'utensile in una morsa.
Rimuovere le quattro viti dall'impugnatura utilizzando un cacciavite Torx.
Rimuovere l'impugnatura dall'alloggiamento del motore.
Rimuovere il filtro dell'aria a maglia fine dal corpo valvole.
Pulire il filtro dell'aria a maglia fine utilizzando una pistola per aria compressa.
Sostituire il filtro dell'aria a maglia fine se si rilevano segni di danni o cattivo funzionamento.
Montare il filtro dell'aria a maglia fine pulito o nuovo nel corpo valvole.

Procedere con cautela per non rilasciare il meccanismo di arresto in caso di sovravelocità.
Montare l'impugnatura sull'alloggiamento del motore.
Serrare le quattro viti nell'impugnatura alla coppia raccomandata.

Pulizia del filtro dell'aria a maglia grossa
Utensili richiesti:
Morsa
Chiave torsiometrica
Chiave (3/8”)
Pistola per aria compressa
Parti di ricambio: Dopo 1.000 ore di servizio, il filtro deve essere sostituito.
Posizionare l'utensile in una morsa. Bloccare la leva di comando all'impugnatura di comando con nastro.
Scollegare l'adattatore aria dall'impugnatura utilizzando una chiave.
Smontare l'adattatore 360 dall'impugnatura.
Smontare il tappo a vite dall'impugnatura utilizzando una chiave.
Pulire il filtro dell'aria a maglia grossa utilizzando una pistola per aria compressa.
Sostituire il filtro dell'aria a maglia grossa se si rilevano segni di danni o cattivo funzionamento.
Montare il filtro dell'aria a maglia grosso pulito o nuovo con l'O-ring nel tappo a vite.
Montare il tappo a vite nell'impugnatura e serrarlo alla coppia consigliata utilizzando una chiave.
Montare l'adattatore 360 con l'O-ring all'impugnatura.
Serrare l'adattatore aria con la molla al tappo a vite utilizzando una chiave alla coppia raccomandata.
Rimuovere il nastro.

Istruzioni per la lubrificazione
Guida di lubrificazione
Utilizzare lubrificanti di buona qualità. Nella tabella dei lubrificanti vengono riportati esempi di oli per motori pneumatici e grassi raccomandati.
Marca | Universale Cuscinetti |
|---|---|
BP | Energrease LS-EP2 |
Castrol | Spheerol EP L2 |
Esso | Beacon EP2 |
Q8 | Rembrandt EP2 |
Mobil | Mobilegrease XHP 222 |
Shell | Alvania EP2 |
Texaco | Multifak EP2 |
Molycote | BR2 Plus |
Risoluzione dei problemi
Ricerca dei guasti
La tabella sottoriportata indica le procedure più comuni di ricerca dei guasti. Si noti che alcuni azioni possono essere intraprese solo da officine autorizzate o da manutentori qualificati.
Problema | Causa | Azione |
|---|---|---|
L'utensile non si avvia | Il flusso d'aria non arriva all'utensile | Controllare la connessione dell'aria compressa |
Il dispositivo di protezione da sovravelocità è attivato | * | |
| Motore inceppato | * |
Velocità a vuoto incostante | Pressione dell'aria instabile | Verificare il regolatore di pressione dell'aria |
| Regolatore usurato | * |
Bassa potenza | Bassa pressione dell'aria | Verificare la pressione dell'aria |
| Lunghezza o dimensioni errate del cavo di alimentazione | Controllare la connessione dell'aria compressa |
| Filtri bloccati | Pulire o sostituire i filtri a grana fine e grossa |
| Aria troppo umida (punto di rugiada alto) | Controllare il compressore |
| Troppo olio nella scatola ingranaggi | Controllare il livello dell'olio |
| Valvola di regolazione usurata | * |
| Turbina usurata | * |
| Regolatore usurato | * |
Olio nello scarico dell'aria | Aria lubrificata | La presenza di olio nell'aria deve essere evitata |
| Perdita dalla guarnizione della turbina | * |
| Perdita dall'O-ring sul diffusore | * |
| Perdita dal perno di sovravelocità | * |
Perdita di olio in corrispondenza del mandrino | Viti o tappo dell'olio allentati | Serrare le viti |
| Paraolio usurato | * |
| O-ring danneggiato sulla piastra | * |
| Cuscinetto del mandrino danneggiato | * |
| Guarnizione di tenuta mancante su tappo dell'olio o viti | Sostituire la guarnizione |
L'utensile si avvia in modo imprevisto | Valvola di regolazione danneggiata | * |
| Perno di valvola inceppato nella posizione di avvio | Cambiare il perno e la guida |
| Meccanismo di bloccaggio di sicurezza danneggiato | Cambiare il meccanismo |
Vibrazioni | Mola usurata o danneggiata | Cambiare la mola |
| Funzionamento non corretto del bilanciatore automatico | Cambiare il bilanciatore automatico |
Velocità a vuoto troppo elevata | Regolatore | * |
Alloggiamento del motore troppo caldo | Troppo olio nella scatola ingranaggi | Controllare il livello dell'olio |
Suono anomalo | Poco olio nella scatola ingranaggi | Controllare l'olio |
| Ingranaggio danneggiato | * |
| Gioco di trasmissione non corretto | * |
| Cuscinetti del motore usurati | * |
* Questa manutenzione può essere effettuata solo da officine autorizzate o da manutentori qualificati.
Riciclo
Normative ambientali
Quando un prodotto ha terminato il relativo ciclo di vita deve essere riciclato correttamente. Smontare il prodotto e riciclare i componenti in conformità alle normative locali.
Le batterie devono essere smaltite dall'ente nazionale preposto al riciclaggio delle batterie.
Informazioni sul riciclaggio

|
|
Componente |
Riciclare come |
|---|---|---|
|
1 |
Alloggiamento del motore |
Metallo, alluminio |
|
2 |
Isolamento alloggiamento del motore |
Plastica, Altro, POM |
|
3 |
Motore completo |
Metallo, alluminio |
|
4 |
Isolamento impugnatura dell'acceleratore |
Plastica, Altro, POM |
|
5 |
Tubo del Filtro |
Plastica, Altro, PA66 GF30 |
|
6 |
Mandrino completo |
Metallo, acciaio |
|
7 |
Bilanciatore |
Metallo, acciaio |
|
8 |
Maniglia di supporto |
Metallo, alluminio |
|
9 |
Supporto delle maniglie di sostegno |
Metallo, acciaio |
|
10 |
Mola |
Metallo, acciaio |
|
11 |
Leva acceleratore |
Metallo, acciaio |
|
12 |
Impugnatura di comando |
Metallo, alluminio |
|
13 |
Adattatore d'Aria |
Metallo, acciaio |
|
14 |
Uscita adattatore |
Plastica, Altro, PA66 |
|
15 |
Adattatore d'Aria |
Metallo, acciaio |